上海錾科自动化科技有限公司——流量自动化仪表供应商。 联系电话:18001874240
语言选择: English

当前位置:网站首页> 新闻资讯

飞行时间超声波流量计是什么?

时间:2019-09-09 12:09:02 点击:0

飞行时间超声波流量计的基本介绍

超声波流量计通常遵循两个不同的原则:
一是多普勒效应超声波流量计,在上期的文章中已有介绍;二是飞行时间超声波流量计,下面将为大家详细讲述。

飞行时间超声波流量计

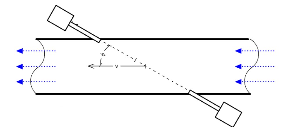
使用飞行时间超声波流量计,测量声音在发射器和接收器之间传播的时间。该方法不依赖于流体中的颗粒。
超声波流量计
两个发射器/接收器(收发器)位于管道的每一侧。发射器以预定频率从一侧向另一侧发送脉动超声波。频率差异与平均流体速度成正比。
飞行时间超声波流量计是什么?
流体速度可表示为
v = [(t2-t1)/(t2 t1)](l /2cosPhi;)(2)
其中
v =流体流速(m / s)
t1 =下游传输时间
t1 =上游传输时间
l =传感器之间的距离(m)
Phi;=发射的超声波束与流体流动之间的相对角度

超声波流量计的优点

(1)阻塞流量减少
(2)压降等于直管的等效长度
(3)不受温度,密度或粘度变化的影响
(4)双向流动能力
(5)低流量截止
(6)耐腐蚀
(7)精度约为流量的1%
(8)相对低功耗

超声波流量计的局限性

(1)超声波流量计的工作原理要求​​可靠的高频声音通过管道传输。具有过量固体或夹带气体的液体浆料可能阻塞超声波脉冲。
(2)超声波流量计不推荐用于初级污泥,混合液,需氧消化污泥,溶气浮选增稠污泥及其液相,化粪池污泥和活性炭污泥。
(3)带有夹带气体的液体无法可靠地测量。
以上即是”飞行时间超声波流量计是什么鬼?”的相关内容了,感兴趣的小伙伴可以在本网站搜索相关产品查看更多详情哦。如果您有对超声波流量计的选购需求,不要犹豫,请直接联系我们錾科的工作人员,我们将24小时恭候您的来电。